Видеокарты Maxwell получат гибридный вентилятор

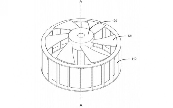
Компания NVIDIA получила патент на новый тип вентилятора, который называется гибридным. Изобретение представляет собой комбинацию вентиляторов осевого и радиального типов. Впрочем, нечто похожее уже использовала MSI в некоторых своих видеокартах.
Предполагается, что гибридные вентиляторы будут использоваться для охлаждения видеокарт Maxwell. Последние, как известно, обещают быть менее «горячими», нежели поколение Kepler и предыдущие, а потому для них не столь критичны производительные системы охлаждения с большими оборотами. При этом «пропеллер» подобной конструкции должен работать с меньшим уровнем шума, что тоже немаловажно.